Samsung Galaxy Ring: Neues Patent zeigt Steuerungsmöglichkeiten

Samsung arbeitet derzeit an der Weiterentwicklung des Galaxy Ring und ein neues Patent zeigt, in welche Richtung das Unternehmen den smarten Ring weiter entwickeln will. Dabei sollen Steuerungsmöglichkeiten hinzugefügt werden um eine Kommunikation über den Ring zu ermöglichen. Samsung beschreibt im Patent ein tragbares Gerät, wie z. B. einen Smart Ring, das aus mehreren Komponenten … Weiterlesen

Samsung: Patentklage verloren, Verkaufsverbot droht aber noch nicht

Es gibt wieder mal Patent-Urteile im Mobilfunk-Bereich und diesmal hat es Samsung getroffen. Wie Heise mitgeteilt hat, verlor das Unternehmen einen Prozess vor dem LG München (Aktenzeichen 21 O 16085/22) bei dem es um die Nutzung eines Patentes für 4G/LTE geht. Diese Patent ist dabei grundlegend und in allen Galaxy Smartphones enthalten, so dass die … Weiterlesen

Huawei patentiert Mikroskopkamera für Handys und Smartphones

Huawei patentiert Mikroskopkamera für Handys und Smartphones – Die meisten Hersteller setzen derzeit eher auf umfangreiche Zoom-Techniken für die Kamera. Das es auch anders geht, zeigt ein neues Patent von Huawei, das die Kamera im Smartphone dazu nutzt, um ein Mikroskop zu ersetzen. Damit lassen sich auch sehr kleine Objekte gut darstellen und fotografieren. Hintergrund … Weiterlesen

Xiaomi: Patent zeigt verschiebbares flexibles Display

Xiaomi: Patent zeigt verschiebbares flexibles Display – Xiaomi sucht derzeit nach Lösungen für die Handybildschirme um möglichst große Display anbieten zu können und dennoch die wichtige Technik auf der Vorderseite der Geräte unterzubringen. Ein neues Patent des Unternehmens zeigt nun einen weiteren Ansatz, wie man dies lösen könnte. Das Unternehmen setzt dabei auf ein flexibles … Weiterlesen

Huawei patentiert Kamera-Modul mit extra Display

Huawei patentiert Kamera-Modul mit extra Display – Die Kameramodule haben im letzten Jahr eine deutliche Aufwertung erfahren und von einer einfacher Kamera wurden sie zu einem komplexen Block mit unterschiedlicher Technik und eigenem Design weiter entwickelt. Dieser Trend scheint auch so weiter zu gehen, denn Huawei hat ein Patent bekommen, wonach das Kameramodul mit einem … Weiterlesen

Xiaomi: neues Patent zeigt Smartphone mit abnehmbaren Display

Xiaomi: neues Patent zeigt Smartphone mit abnehmbaren Display – Xiaomi hat ein neues Patent zugesprochen bekommen, dass die Technik von Smartphones mit abnehmbaren Display zeigt. Die Modelle verfügen dabei über Standart-Kontakt an der Vorderzeit und darauf lassen sich passende Bildschirme aufsetzen. Dabei soll man nicht nur das Display im Schadensfall wechseln können, sondern hinter dem … Weiterlesen

Xiaomi: Earbuds sollen zukünftig im Handy aufbewahrt werden

Xiaomi: Earbuds sollen zukünftig im Handy aufbewahrt werden – klassische Kopfhörer werden mittlerweile immer mehr durch In-Ear Modelle ersetzt und diese kommen oft mit einer eigenen Box zur Aufbewahrung und auch zur Aufladung der Modelle. Xiaomi hat sich nun Gedanken gemacht, wie man dies direkt in die Handys und Smartphones integrieren kann und hat sich … Weiterlesen

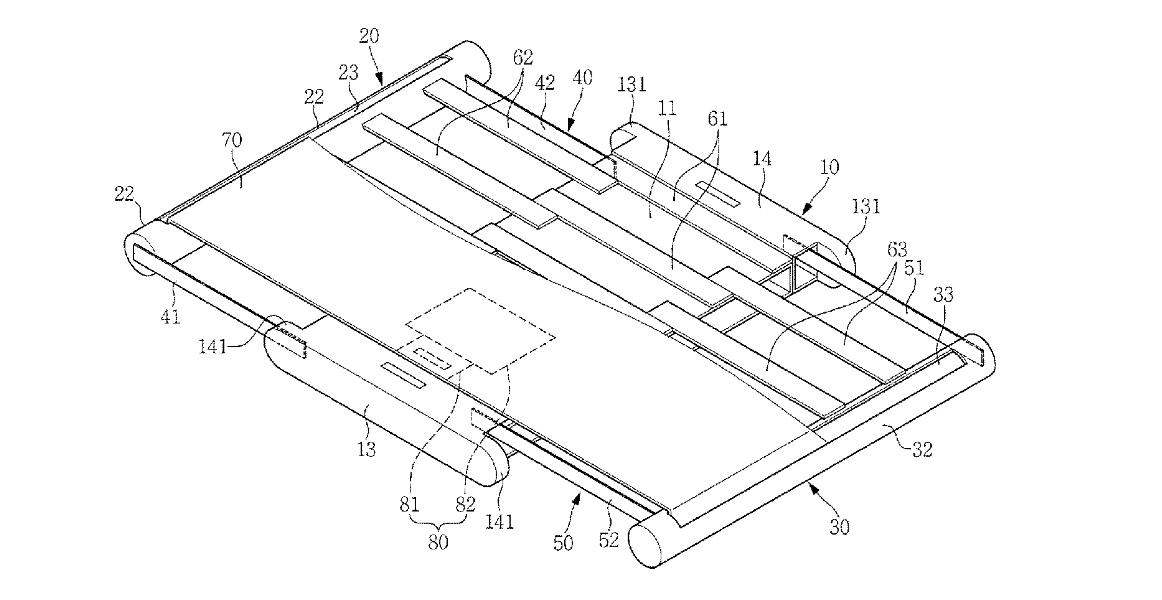
Samsung: Patent zeigt Tablet mit ausrollbarem Display

Samsung: Patent zeigt Tablet mit ausrollbarem Display – In diesem Jahr werden wir bereits die zweite Generation von faltbaren Handys bei Samsung sehen und das Unternehmen scheibt die Probleme beim Start dieser Technik mittlerweile in den Griff bekommen zu haben. Der nächste Schritt sind nun wohl Tablet mit flexiblen Display, denn das Unternehmen hat ein … Weiterlesen

Xiaomi: neues Patent mit skurriler drehbarer Kamera

Xiaomi: neues Patent mit skurriler drehbarer Kamera – Die Hersteller suchen nach wie vor nach guten Möglichkeiten, die Frontkamera der Smartphones so anzubringen, dass sie möglichst wenig Platz für das Display wegnimmt. Xiaomi hat ebenfalls in dieser Hinsicht experimentiert und verschiedene Ansätze durchgespielt. Eine skurrile Lösung ist jetzt in einem Patent aufgetaucht: das Unternehmen hat … Weiterlesen

Xiaomi: neues Patent zeigt Design mit umgekehrter Notch

In den letzten beiden Jahren haben die Hersteller im Bereich der Handys und Smartphones versucht, Lösungen zu finden, wie man ein möglichst großes Display ohne Rand produzieren kann und dennoch Platz für die notwendige Technik wie beispielsweise die Kamera hat. Es gab das Notch-Design mit Aussparung, das neue Infinity-O Display von Samsung mit Loch und … Weiterlesen